Search
USD
All Categories
    Menu Close

    Irtec FBT1 Turbine Drive Hard Hose Irrigator

    Manufacturer: Irtec

    Efficient irrigation for compact areas meets industrial-grade reliability — the Irtec FBT1 turbine drive hard hose irrigator brings Italy-based Irtec engineering to small-scale operations. Purpose-built with turbine-flanged gearbox technology and external by-pass, this professional solution handles hose lengths up to 170 m with galvanised construction and comprehensive safety features for dependable performance in tight spaces.

    • Hose Diameter: 50–63 mm (1.97–2.48 in)
    • Hose Length Capacity: 100–170 m (328–558 ft)
    • Drive System: Turbine flanged on gearbox with external by-pass
    • Included Components: Galvanised raingun trolley, HYDRA nozzle set (Ø 12–16 mm), pressure gauge, power-take-off for fast retraction

    Compare prices from verified Irtec dealers. Request quotes directly from sellers on IrriFinder.

    *

    Overview

    Irtec is a leading manufacturer of high-quality irrigation equipment, and their Hose Reels are designed to provide efficient and reliable solutions for various irrigation needs. The Irtec Hose Reels are engineered to deliver seamless water distribution, making them an ideal choice for both small-scale and large-scale agricultural applications.

    The FBT1 represents Irtec's professional solution for convenient irrigation of even the smallest spaces. This Turbine Drive Hard Hose Irrigator combines Italian engineering excellence with robust construction to deliver exceptional performance in compact agricultural settings. Manufactured in Italy with precision and attention to detail, the FBT1 is specifically designed for farmers and growers who require powerful irrigation capabilities in areas where larger systems would be impractical. Its turbine-driven mechanism and compact footprint make it an ideal choice for orchards, vineyards, small fields, and specialised crop operations.

     

    Key Features & Benefits

    • Turbine Drive Technology: Features a turbine flanged directly on the gearbox with external by-pass, providing reliable water-powered operation without the need for external power sources.
    • Professional-Grade Gearbox: Engineered gearbox ensures smooth hose retraction and extended operational life, even under demanding conditions.
    • Advanced Hose-Guide System: Maintains proper hose alignment during winding and unwinding, preventing tangles and extending hose lifespan.
    • Complete Raingun System: Includes galvanised raingun trolley with HYDRA raingun and comprehensive nozzle set from Ø 12 mm to Ø 16 mm for versatile spray patterns.
    • Fast Retraction Capability: Power-take-off feature enables rapid hose retrieval, saving valuable time during operations.
    • Integrated Monitoring: Built-in pressure gauge allows real-time monitoring of system pressure for optimal performance and troubleshooting.
    • Durable Polyethylene Hose: Premium hose constructed from unadulterated raw material ensures resistance to UV damage, kinking, and chemical degradation.
    • Superior Corrosion Protection: Machine chassis treated with epoxy resin coating and finished with polyurethane paints for maximum weather resistance.
    • Robust Wheel Configuration: Equipped with one front wheel (13.5.00 x 6") and two rear wheels (16.6.50 x 8" 4PR 4F) for stable transport across various terrains.
    • Safety-First Design: Comprehensive safety guards protect operators from moving parts during operation.
    • Flexible Connection System: Includes flexible connection pipe for easy hookup to water sources.
    • Compact Footprint: Specifically engineered for efficient operation in smaller spaces where traditional large irrigators cannot access.

     

    Technical Specifications

    Manufacturer Model Product Type Drive System Gearbox Hose Diameter Range Hose Length Range Raingun Nozzle Set Wheels Hose Material Chassis Treatment Country of Manufacture
    Irtec FBT1 Turbine Drive Hard Hose Irrigator Turbine flanged on gearbox with external by-pass Professional-grade gearbox 50-63 mm (1.97-2.48 in) 100-170 m (328-558 ft) HYDRA with galvanised trolley Ø 12 mm to Ø 16 mm 1 front: 13.5.00 x 6" / 2 rear: 16.6.50 x 8" 4PR 4F Polyethylene (unadulterated raw material) Epoxy resin coating with polyurethane paint Italy

     

    Available Hose Configurations

    The FBT1 is available in three distinct configurations to match different field sizes and irrigation requirements. Each configuration is optimised for specific flow rates and coverage areas:

    Hose Diameter Hose Length Raingun Nozzle Range End Hose Performance Data
    50 mm (1.97 in) 170 m (558 ft) HYDRA 12/14/16 mm 10 View Performance Chart
    58 mm (2.28 in) 140 m (459 ft) HYDRA 12/14/16 mm 9 View Performance Chart
    63 mm (2.48 in) 100 m (328 ft) HYDRA 12/14/16 mm 1 View Performance Chart

    Performance data sheets provide detailed information on flow rates, working pressures, and coverage areas for each configuration.

     

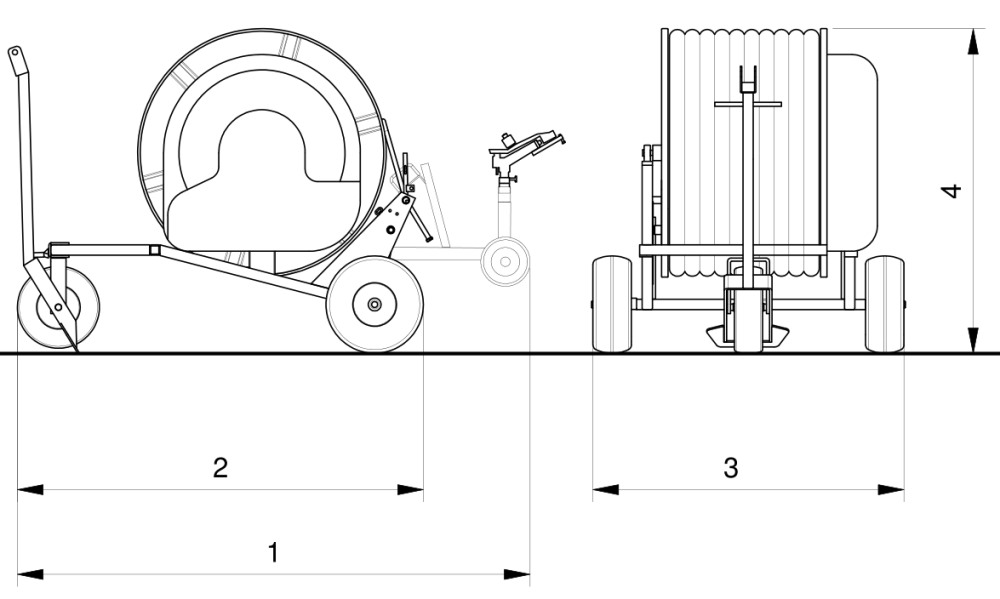
    Machine Dimensions

    FBT1 Dimensions Diagram

    Diagram shows dimension reference points (1, 2, 3, 4) on the machine for transport and operational planning.

    Dimension Reference Metric (cm) Imperial (in)
    1 195 cm 76.8 in
    2 150 cm 59.1 in
    3 128 cm 50.4 in
    4 126 cm 49.6 in

    These compact dimensions make the FBT1 highly manoeuvrable in confined spaces while maintaining the structural integrity required for professional irrigation operations.

     

    Ideal Applications

    • Small to Medium-Sized Fields: Perfect for irrigating parcels where larger systems would be inefficient or unable to access, with coverage up to 170 metres depending on configuration.
    • Orchards and Vineyards: Ideal for row crop irrigation in fruit and grape production where precise water application between narrow rows is essential.
    • Vegetable Production: Excellent for market gardens and vegetable farms requiring flexible irrigation coverage across multiple small plots.
    • Specialised Crop Operations: Well-suited for nurseries, flower production, and other high-value crops in compact growing areas.
    • Hobby Farms and Smallholdings: Provides professional-grade irrigation performance scaled appropriately for smaller agricultural operations.
    • Irregular Field Shapes: The compact design and multiple hose length options make it adaptable to oddly-shaped parcels and corners of larger properties.
    • Rental and Contracting: Portable size and robust construction make it ideal for irrigation contractors serving multiple small-scale clients.
    • Sports Fields and Turf Management: Suitable for maintaining athletic fields, golf course roughs, and other turf areas requiring consistent water distribution.

    Standard Equipment

    Turbine flanged on the gearbox with external by-pass Gearbox
    Hose-guide system Galvanized raingun trolley
    Raingun Set of nozzles HYDRA raingun from Ø 12 to Ø 16
    Pressure gauge Power-take-off for fast retraction
    Flexible connection pipe Safety guards
    1 front wheel mod. 13.5.00 x 6" - 2 rear wheels mod. 16.6.50 x 8" 4PR 4F Machine coated by epoxy resin and painted with polyurethane paints
    Polyethylene hose made by unadulterated raw material
    *
    *
    *
    *

    Irrigation Unit Conversions

    Convert a given value and unit to different unit type. Conversions are available for flow rate, area, distance, time, volume, pressure, power, precipitation, salinity, and speed.

    Click here to see unit descriptions.


     to 
    Area:
     to 
    Distance:
     to 
    Time:
     to 
    Volume:
     to 
    Pressure:
     to 
    Power:
     to 
    Precipitation (Water Application) Rate:
     to 
    Salinity:
     to 
    Speed:
     to 

    Reference: Washington State University

    Product Features
    Picture Feature Title Feature Benefit
    Turbine Drive System Turbine Drive System Features a turbine flanged directly on the gearbox with an external by-pass for water-powered operation. Eliminates the need for external power sources, providing reliable and efficient autonomous operation in remote field locations.
    Integrated Hose-Guide System Integrated Hose-Guide System Incorporates a precision hose-guide mechanism that ensures even distribution of the hose across the reel drum. Prevents hose tangling and overlapping, extending hose lifespan and ensuring smooth, trouble-free operation throughout the irrigation cycle.
    Galvanised Raingun Trolley Galvanised Raingun Trolley Equipped with a hot-dip galvanised trolley that carries the raingun across the irrigation area. Provides superior corrosion resistance for long-lasting durability, even in harsh agricultural environments with constant water exposure.
    Complete Nozzle Set Complete Nozzle Set Includes a comprehensive HYDRA raingun nozzle set ranging from Ø 12 to Ø 16 mm for versatile irrigation coverage. Allows precise adjustment of water flow and coverage patterns to match different crop requirements and field conditions without additional purchases.
    Fast Retraction Power Take-Off Fast Retraction Power Take-Off Fitted with a power take-off mechanism that enables rapid hose retraction when quick mobilisation is needed. Significantly reduces downtime between irrigation cycles and enhances operational efficiency when moving between fields or storing the equipment.
    Integrated Pressure Gauge Integrated Pressure Gauge Features a built-in pressure gauge for real-time monitoring of water pressure during operation. Enables immediate detection of pressure irregularities, helping prevent equipment damage and ensuring optimal irrigation performance.
    Heavy-Duty Wheel Configuration Heavy-Duty Wheel Configuration Mounted on robust wheels including one front wheel (13.5.00 x 6") and two rear wheels (16.6.50 x 8" 4PR 4F) for stable mobility. Ensures easy manoeuvrability across varied terrain whilst maintaining stability, reducing soil compaction and enabling safe transport even on uneven fields.
    Advanced Protective Coating Advanced Protective Coating Entire machine frame is treated with epoxy resin coating and finished with polyurethane paint for enhanced surface protection. Delivers exceptional resistance to weathering, chemicals, and UV exposure, ensuring lasting appearance and structural integrity over many seasons of use.
    Premium Polyethylene Hose Premium Polyethylene Hose Supplied with high-quality polyethylene hose manufactured from pure, unadulterated raw material without recycled content. Guarantees superior flexibility, durability, and resistance to kinking or cracking, reducing maintenance costs and ensuring consistent water delivery.
    Comprehensive Safety Guards Comprehensive Safety Guards Equipped with protective safety guards covering all moving and rotating components during operation. Protects operators from potential injury hazards, ensuring safe operation and compliance with workplace safety requirements.
    Flexible Connection Pipe Flexible Connection Pipe Includes a flexible connection pipe that accommodates movement and alignment variations between water source and machine. Simplifies installation and reduces stress on connection points, preventing leaks and extending the service life of fittings and seals.